> 제품 > 볼트 > 육각머리 볼트 > 고토크 육각 볼트
        고토크 육각 볼트
        • 고토크 육각 볼트고토크 육각 볼트
        • 고토크 육각 볼트고토크 육각 볼트

        고토크 육각 볼트

        하이 토크 육각 볼트의 나사 끝 부분은 호 모양의 루트 디자인을 갖추고 있어 더 큰 토크를 견딜 수 있습니다. 육각형 헤드로 인해 설치 및 제거가 용이하여 건설 프로젝트에 널리 사용됩니다. Xiaoguo는 30년 이상의 경험을 가진 패스너 제조업체입니다.

        문의 보내기

        제품 설명

        높은 토크의 육각 볼트는 건설 현장에서 매우 흔히 사용됩니다. 철골 프레임, 교량 및 조립식 건물을 함께 고정하는 볼트입니다. 그들은 들보와 기둥을 멋지고 안전하게 유지합니다. 엔진 및 섀시와 같은 구성 요소를 고정하는 데 사용되는 자동차의 모든 곳에서 볼 수 있습니다. 강한 진동과 가변 하중을 매우 잘 견딜 수 있기 때문에 중장비 및 농업 장비에도 적용됩니다. 응력 하에서도 안정적으로 작동하며 일종의 범용 패스너입니다. 수많은 엔지니어링 및 산업 응용 분야에서 강력하면서도 분리 가능한 연결 지점을 만들어 모든 프로젝트의 안전성과 내구성을 보장하는 것으로 신뢰됩니다.

        제품 소재 소개

        육각 볼트의 재질은 성능, 지속 시간, 특정 환경에 적합한지 여부에 따라 매우 중요하게 구성됩니다. 가장 일반적인 육각형 볼트는 탄소강으로 만들어지므로 일반 용도에 맞게 강도와 경제성의 균형을 잘 유지합니다. 더 나은 내식성이 필요하다면 304 또는 316 등급과 같은 스테인리스강 고토크 육각형 볼트를 선택하는 것이 좋습니다. 그들은 해양, 화학, 식품 가공 산업에서 잘 작동합니다. 날씨가 덥거나 비자성 제품이 필요한 경우 사람들은 황동 또는 청동 육각 볼트를 선택합니다. 항공 우주 또는 기타 중요한 프로젝트와 같은 보다 힘든 작업의 ​​경우 사람들은 티타늄 합금 또는 인코넬 합금과 같은 고강도 합금으로 만든 육각 볼트를 사용합니다. 이러한 재료는 강도가 높고 무게가 적당하며 고온과 부식을 매우 잘 견딜 수 있습니다.

        Q&A 세션

        고토크 육각 볼트는 어떤 국제 표준을 준수합니까? 선택할 수 있는 강도 수준은 무엇입니까?

        당사의 고토크 육각 볼트는 ISO 4014, ISO 4017, DIN 933, DIN 931 및 ASTM A307과 같은 일반적인 국제 표준을 충족합니다. 근력 등급에는 4.8등급과 8.8등급이 있습니다. 우리는 또한 더 높은 강도의 것인 10.9와 12.9를 가지고 있습니다. 각 볼트에는 쉽게 식별할 수 있도록 명확한 표시가 있습니다. 이를 통해 특정 구조 또는 기계 요구 사항에 맞는 인증된 제품을 얻을 수 있으며 안전과 성능이 보장됩니다.


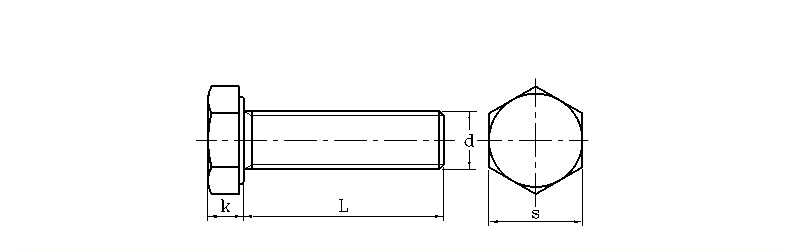
        High Torque Hexagonal bolt6

                                                                                                                                                                                                           mm
        d S k d
        최대 최대 최대
        M3 5.32 5.5 1.87 2.12 2.87 2.98 0.5
        M4 6.78 7 2.67 2.92 3.83 3.98 0.7
        M5 7.78 8 3.35 3.65 4.82 4.97 0.8
        M6 9.78 10 3.85 4.14 5.79 5.97 1
        M8 12.73 13 5.15 5.45 7.76 7.97 1.25
        M10 15.73 16 6.22 6.58 9.73 9.96 1.5
        M12 17.73 18 7.32 7.68 11.7 11.96 1.75
        M14 20.67 21 8.62 8.98 13.68 13.96 2
        M16 23.67 24 9.82 10.18 15.68 15.96 2
        M18 26.67 27 11.28 11.7 17.62 17.95 2.5
        M20 29.67 30 12.28 12.71 19.62 19.95 2.5

        핫 태그: 고토크 육각 볼트
        관련 카테고리
        문의 보내기
        문의사항은 아래 양식으로 부담없이 보내주세요. 24시간 이내에 회신해 드리겠습니다.
        X
        당사는 귀하에게 더 나은 탐색 경험을 제공하고, 사이트 트래픽을 분석하고, 콘텐츠를 개인화하기 위해 쿠키를 사용합니다. 이 사이트를 이용함으로써 귀하는 당사의 쿠키 사용에 동의하게 됩니다. 개인 정보 보호 정책
        거부하다 수용하다