안전한 체결 육각형 볼트 포장은 정리된 상태를 유지하고 손상을 방지하도록 설계되었습니다. 이 포장 상자에는 슬롯이 있는 부드러운 안감이 함께 제공됩니다. 볼트는 머리와 머리가 맞닿아 있으므로 각 육각 볼트가 제자리에 고정됩니다. 이를 통해 신속하게 선택하고 배치할 수 있으며 배송 시 긁힘을 방지할 수 있습니다. 대량 운송의 경우 육각 볼트는 종종 가방당 500개로 포장됩니다. 그런 다음 이 가방을 내부 상자와 강화된 목재 케이스에 넣어 하중을 안정적으로 유지합니다. 중요 산업의 경우 고사양 패키징 옵션이 엄격한 군사 표준을 충족할 수 있습니다. 여기에는 보관 및 배송 중에 볼트가 부식되지 않도록 보호하는 밀봉된 기름 방지 방수 가방이 포함될 수 있습니다.
육각 볼트의 등급은 그 강도를 보여줍니다. 이러한 등급 표시는 쉽게 식별할 수 있도록 볼트 머리 부분에 있습니다. 일반적인 ISO 등급에는 4.6, 8.8, 10.9 및 12.9가 포함됩니다. 8.8 등급은 일반적인 중간 강도 볼트이고 10.9 및 12.9는 고강도이며 자동차 및 건설과 같은 까다로운 분야에 사용됩니다. A307 및 A325와 같은 ASTM 표준도 볼트 성능을 정의합니다. 안전한 고정 육각 볼트를 선택하는 것은 볼트가 하중을 실패 없이 처리할 수 있도록 하기 때문에 안전을 위한 핵심입니다.
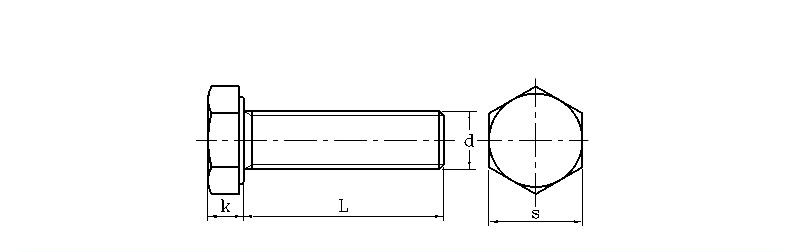
| mm | |||||||
| d | S | k | d | 실 | |||
| 최대 | 분 | 최대 | 분 | 최대 | 분 | ||
| M3 | 5.32 | 5.5 | 1.87 | 2.12 | 2.87 | 2.98 | 0.5 |
| M4 | 6.78 | 7 | 2.67 | 2.92 | 3.83 | 3.98 | 0.7 |
| M5 | 7.78 | 8 | 3.35 | 3.65 | 4.82 | 4.97 | 0.8 |
| M6 | 9.78 | 10 | 3.85 | 4.14 | 5.79 | 5.97 | 1 |
| M8 | 12.73 | 13 | 5.15 | 5.45 | 7.76 | 7.97 | 1.25 |
| M10 | 15.73 | 16 | 6.22 | 6.58 | 9.73 | 9.96 | 1.5 |
| M12 | 17.73 | 18 | 7.32 | 7.68 | 11.7 | 11.96 | 1.75 |
| M14 | 20.67 | 21 | 8.62 | 8.98 | 13.68 | 13.96 | 2 |
| M16 | 23.67 | 24 | 9.82 | 10.18 | 15.68 | 15.96 | 2 |
| M18 | 26.67 | 27 | 11.28 | 11.7 | 17.62 | 17.95 | 2.5 |
| M20 | 29.67 | 30 | 12.28 | 12.71 | 19.62 | 19.95 | 2.5 |
Secure Fastening 육각형 볼트의 재질 구성 및 부식 방지 옵션에 대해 설명할 수 있습니까?
우리는 저탄소강, 더욱 강한 합금강, 스테인리스강(A2-304 및 A4-316)과 같은 다양한 재료로 육각 볼트를 생산합니다. 녹 방지를 위해 전기아연도금, 용융아연도금, Dacromet 등의 코팅을 제공합니다. 특히 건설 현장이나 바다 근처와 같은 거친 장소에서는 볼트의 지속 시간에 따라 올바른 코팅을 선택하는 것이 중요합니다.
